地址:上海市嘉定區南翔鎮滬宜公路1號
電話:021-59561390
手機:13916965877
郵箱:ceerna@163.com(策爾納)
地址:上海市嘉定區南翔鎮滬宜公路1號
電話:021-59561390
手機:13916965877
郵箱:ceerna@163.com(策爾納)
| 玉柴發動機試驗臺 | |||||||||||||||||||||||||||||||||||||||||||||||||||||||||||||||||||||||||||||||||||||||||||||||||||||||||||||||||||||||||||||||||||||||||||||||||||||||||||||||||||||||||||||||||||||||||||||||||||||||||||||||
| 來源: 發布:2021/6/3 18:56:12 | |||||||||||||||||||||||||||||||||||||||||||||||||||||||||||||||||||||||||||||||||||||||||||||||||||||||||||||||||||||||||||||||||||||||||||||||||||||||||||||||||||||||||||||||||||||||||||||||||||||||||||||||
發動機試驗臺技術規格書 一 、設備配置(150-650KW)
二、功能 1、測試參數:轉速、扭矩、功率、機油溫度,出水溫度,排氣溫度,機油壓力,節氣門開度 2、參數顯示方式:計算機屏幕顯示 3、數字設定扭矩值,數字PID自動控制 4、自動控制方式:恒扭矩 5、打印試驗報告
三、技術支持 1、 用戶試驗室建造過程中,我們提供全面的技術支持。 2、 全面的技術培訓(機械電子各1名)。
四、測試參數/量程/精度
5.1控制系統主要性能: 1)高精度應變式拉壓力傳感器實現發動機輸出扭矩的精密數字測量。 2)磁電式測速傳感器實現高精度瞬時轉速測量。 3)數字調節器實現發動機與測功機轉速、負荷的高性能自動控制。 4)直接數字控制(DDC)方式及靈活多變的控制算法可滿足不同類型發動機測量控制要求。 5)觸摸式工況設定使操作更為輕盈,便捷可靠。快慢速設定功能使設定快速性和精確性得以兼顧。 6) 雙變量解耦控制可實現任意的控制特性。 7) 有突卸載荷試驗功能。 8) 三路溫度和一路壓力可滿足常規參數測量要求。并可十分方便地由用戶自己擴展至五路溫度和三路壓力測量。 9)三路主參數顯示采用高亮度0.8英寸數碼管,清晰直觀。 10) 具有本地/外接操作功能。 11) 系統擴展功能靈活,連接方便,可靠性高。 12) 所有調零,調增益,上、下限設定均采用數字化,拼棄了以往采用電位器調節的弊端,使調節,設定更為精確可靠。
5.2控制系統工作原理: 負荷,溫度,壓力等模擬信號經過調理后,變成0—10V標準模擬信號,經A/D轉換,變成計算機所需的數字量。 轉速信號經整形放大后,直送JS計數卡,經計算機計數后變成相應數字量。 CPU根據采集的數據,綜合用戶面板的給定狀態,經過一系列控制算法的運算,變成直接推動水門油門執行器的脈沖信號,實現了計算機直接數字控制(DDC)。
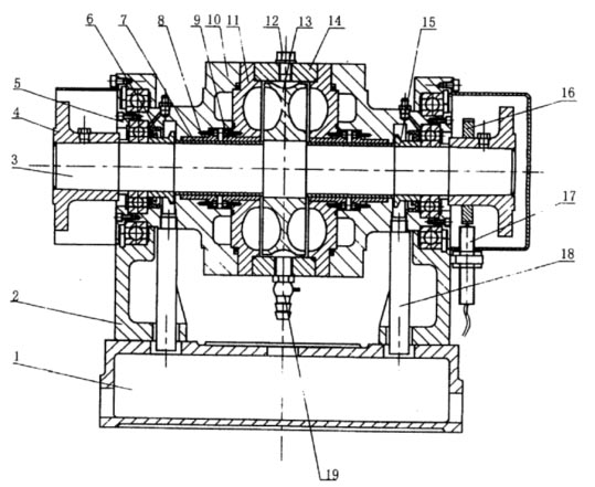
5.3測功機結構 測功機機體部件結構示意圖
1、底座 2、左右軸承座 3、主軸部件 4、聯軸節 5、軸承壓板 6、骨架油封 7、軸套 8.9、雙金屬軸套 10、左右軸承外殼 11、左右側殼 12、螺塞 13、轉 子 14、外殼 15、封水圈 16、測速齒輪 17、轉速傳感器 18、溢水管 19、旋塞
5.4測功機特性曲線
5.5燃料重量計
根據燃料種類確定。一般柴油、汽油采用重量式。在單位時間內(如60秒),測量消耗的燃料的重量。 5.6進氣流量計 一般采用渦街式或熱線、熱膜式均可。根據發動機排量大小確定測試范圍 5.7測功機及發動機供水系統 冷卻水系統需要建立循環系統。配置地下水箱和高位水箱,并帶有冷卻水散熱裝置。以方便對冷卻水進行降溫。水箱高度5米左右,地下水箱備有抽水泵以形成整體循環。滿足最大功率500千瓦發動機的試驗要求,連續試驗時間不超過4小時。 5.8排放檢測 氣體是一氧化碳(CO)、未燃碳氫(HC)、氮氧化物(NOx)、二氧化碳(CO2)、氧氣(O2), 顆粒物是炭煙,具體測量裝置有透光式測試裝置。 5.9排氣裝置
包含排煙管路、消聲器、發動機煙氣處理裝置,管路安裝連接。滿足當地環境要求,不能冒黑煙。 ●質量保證期自終驗收之日起12個月; ●供方必須保證提供的儀器設備是全新的、未使用過的; ●質量保證期內,在正常情使用況下,由于產品內在缺陷而造成的故障均由供方負責。
七、 售后服務: ●供方在接到設備故障的正式通知后,1小時之內做出響應, 如需現場解決,將24小時之內趕到需方現場加以解決; ●所提供產品,凡在質保期內出現產品質量問題,我公司負責免費更換相關的零部件; ●提供廣泛而優惠的技術支持及備件供應; ●控制軟件享受終身免費升級; ●定期走訪用戶,了解設備的運行狀況,并及時與用戶溝通;
八、 需方負責: 1、發動機起動; 2、發動機燃料供給; 3、土建施工。
九、備選的測功機特性曲線
| |||||||||||||||||||||||||||||||||||||||||||||||||||||||||||||||||||||||||||||||||||||||||||||||||||||||||||||||||||||||||||||||||||||||||||||||||||||||||||||||||||||||||||||||||||||||||||||||||||||||||||||||
| 【刷新頁面】【打印此文】 【關閉窗口】 | |||||||||||||||||||||||||||||||||||||||||||||||||||||||||||||||||||||||||||||||||||||||||||||||||||||||||||||||||||||||||||||||||||||||||||||||||||||||||||||||||||||||||||||||||||||||||||||||||||||||||||||||
| 上一篇:濟柴發動機試驗臺 下一篇:發動機燃油添加劑對比試驗 | |||||||||||||||||||||||||||||||||||||||||||||||||||||||||||||||||||||||||||||||||||||||||||||||||||||||||||||||||||||||||||||||||||||||||||||||||||||||||||||||||||||||||||||||||||||||||||||||||||||||||||||||


電話咨詢
電話: 021-59561390
手機: 13916965877
